x

स्वास्थ्य सेवाओं के क्षेत्र में एप्पल ने लॉन्च किया ब्लड प्रेशर डिवाइस

Shortpedia

Content Team
Image Credit: BGR

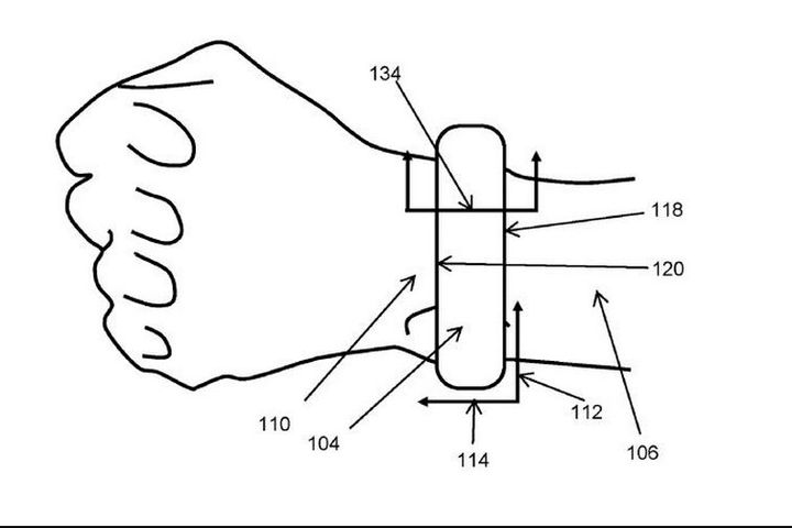
मोबाइल के क्षेत्र की नंबर वन कंपनी एप्पल अपनी आधुनिक टेक्नोलॉजी के लिए पूरी दुनिया में एक अलग ही पहचान रखती है. अब एप्पल ने स्वास्थ्य सेवाओं के क्षेत्र में एक कदम आगे बढ़ाते हुए ब्लड प्रेशर के डिवाइस को पेटेंट करा लिया है. और इस डिवाइस को एप्पल अपने स्मार्ट वॉच में भी लगाएगा. जिसके बाद लोगों को बहुत ज्यादा फायदा होगा. और वह आसानी से अपना ब्लड प्रेशर नाप सकते है. फिलहाल एप्पल की स्मार्टवॉच में हार्ट रेट नापने का डिवाइस लगाया हुआ है.